▼問1〜30一般問題の速報解説
▼問31〜50配線図問題の速報解説
一般問題
本問題の計算で√2、√3及び円周率πを使用する場合の数値は次によること。√2=1.41、√3=1.73、π=3.14
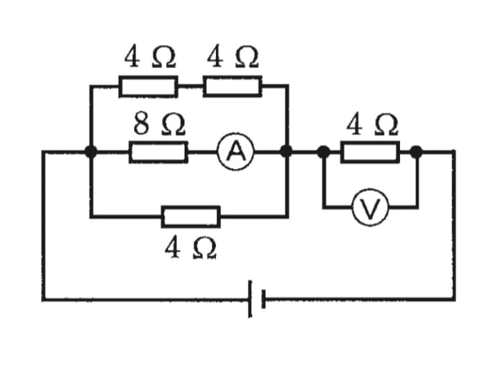
問1
図のような回路で、電流計Ⓐの値が2Aを示した。このときの電圧計Ⓥの指示値[V]は。

イ . 16
ロ . 32
ハ . 40
ニ . 48
例えば2つの異なる抵抗があるとしよう。
これを直列接続した場合、2つの抵抗に流れる電流[A]は同じだけど、電圧[V]は異なる。
一方、並列接続した場合、2つの抵抗に流れる電圧[V]は同じだけど、電流[A]は異なる。
イメージとしては、直列だと電圧は抵抗に出会うたびに徐々に削られる、並列だと電流は各回路に分散するから減少するという感じで覚えておこう。
さて、この問題は、電流計Aのある並列回路全体と電圧計Vの抵抗は直列関係にあるから、流れる電流は同じ。
つまり、並列回路全体の電流を求め、そこから電圧計Vの電圧[V]を求めていく順番になるよ。
まず、並列回路は電圧[V]が同じ。
電圧=電流×抵抗より、8Ωの回路の電流は1Aだから、
2×8=16[V]
上の4Ωが2つの回路と、一番下の4Ωが1つの回路も16Vなので、電流=電圧÷抵抗よりそれぞれの電流[A]を求めると、
16÷(4+4)=2[A]
16÷4=4[A]
並列回路の電流を合わせると、全体の電流は4Aになる。
この電流は直列する電圧計Vを接続した抵抗にも流れる。
電圧=電流×抵抗より、
4×8=32[V]
正解はロ
問2
抵抗率ρ[Ω・m]、直径D[mm]、長さL[m]の導線の電気抵抗[Ω]を表す式は。

計算式や記号がごちゃごちゃしているから、少し冷静に考えてみよう。
公式は、電気抵抗R[Ω]=抵抗率ρ[Ω・m]×長さL[m]÷断面積S[㎡]になります。
電気抵抗[Ω]を求めるためには、抵抗率ρ[Ω・m]の「・m」の部分を[m]で割り算して消すんだろうなぁというイメージがなんとなく浮かばないでしょうか。
円の断面積は、半径×半径×πなので、
(1000×D÷1/2)×(1000×D÷1/2)×π
=πD²÷4×10⁶
これに公式の電気抵抗R[Ω]=抵抗率ρ[Ω・m]×長さL[m]÷断面積S[㎡]を当てはめると
ρ×L÷πD²÷4×10⁶=4ρL/πD²×10⁶
出題パターンも決まっているのでイの式を暗記しましょう。
正解はイ
問3
消費電力が500[W]の電熱器を、1時間30分使用したときの発熱量[kJ]は。
イ . 450
ロ . 750
ハ . 1800
ニ . 2700
500×(60+30)×60
=2,700,000
1kJ=1,000Jだから、2,700kJ
正解はニ
問4
単相200Vの回路に、消費電力2.0kW、力率80%の負荷を接続した場合、回路に流れる電流[A]は。
イ . 7.2
ロ . 8.0
ハ . 10.0
ニ . 12.5
200×0.8=160V
消費電力W=電圧E×電流Iより、
2000÷160=12.5
正解はニ
問5
図のような三相3線式回路に流れる電流I[A]は。

イ . 8.3
ロ . 11.6
ハ . 14.3
ニ . 20.0
求める必要のある相電圧は、電圧E÷√3で計算できる。
また、電流I=電圧E÷抵抗Rなので
200÷10÷√3
≒11.6
正解はロ
問6
図のような単相2線式回路で、c-c’間の電圧が100[V]のとき、a-a’間の電圧[V]は。
ただし、rは電線の電気抵抗[Ω]とする。

イ . 102
ロ . 103
ハ . 104
ニ . 105
100Vにrの電圧降下(=電流I×抵抗R)を足し算しよう。
まず、a-b間の電流は5A+10A=15Aなので、
15×0.1=1.5[V]
a’-b’間の電圧降下も同様に1.5[V]
次にb-c間の電流は10Aなので、
10×0.1=1[V]
b’-c’間の電圧降下も同様に1[V]
100+1.5+1.5+1+1
=105[V]
正解はニ
問7
図のような単相3線式回路で、電線1線当たりの抵抗が0.2Ω、抵抗負荷に流れる電流がともに10Aのとき、この電線路の電力損失〔W〕は。

イ . 4
ロ . 8
ハ . 40
ニ . 80
電圧E=電流I×抵抗R、電力損失W=電圧E×電流Iより、
0.2×10×10×2
=40〔W〕
正解はハ
問8
金属管による低圧屋内配線工事で、管内に断面積3.5mm2の600Vビニル絶縁電線(軟銅線)3本を収めて施設した場合、電線1本当たりの許容電流[A]は。
ただし、周囲温度は30℃以下、電流減少係数は0.70とする。
イ . 19
ロ . 26
ハ . 34
ニ . 49
断面積3.5㎟の許容電流は37V
同一管内に3本の電線を収めたときの電流減少係数は0.70
37×0.70≒26
正解はロ
問9
図のような電熱器Ⓗ1台と電動機Ⓜ2大が接続された単相2線式の低圧屋内幹線がある。
この幹線の太さを決定する根拠となる電流Iw[A]と幹線に施設しなければならない過電流遮断機の定格電流を決定する根拠となる電流IB[A]の組合せとして、適切なものは。
ただし、需要率は100%とする。

イ . Iw 27 IB 55
ロ . Iw 27 IB 65
ハ . Iw 30 IB 55
ニ . Iw 30 IB 65
電熱器の定格電流の合計Ihは、Ih=5
電動機の定格電流の合計Imは、Im=5+15=20
また、ImはIm>Ih、Im≦50Aだから、
Iw≧1.25×Im+Ih=1.25×20+5=30
ということで、選択肢はハとニに絞られる。
次に過電流遮断器の根拠となる定格電流IB[A]を求めよう。
電動機が接続されているから3×Im+Ihと2.5×Iw をそれぞれ計算。
65、75になるね。
①3Im+Ih≦2.5Iwの場合は、IB≦3Im+Ih
②3Im+Ih>2.5Iwの場合は、IB≦2.5Iw
この場合は65≦75で①になるから、IB≦65になる。
正解はニ
問10
正解は
問10
定格電流30[A]の配線用遮断器で保護される分岐回路の電線(軟銅線)の太さと、接続できるコンセントの図記号の組合せとして、適切なものは。
ただし、コンセントは兼用コンセントではないものとする。

この問題では、定格電流が表示されていないコンセントが何Aなのかを問われている。
表示がないものは100V・15A。
なので、ロとニは×
また、30[A]の配線用遮断器の分岐回路は、断面積5.5㎟、もしくは直径2.6mmの太さのものを使用する。
正解はイ
問11
金属管工事において、絶縁ブッシングを使用する主な目的は。
イ . アウトレットボックスのノックアウト(打ち抜き穴)の径が、それに接続する金属管の外径より大きいときに使用する。
ロ . 金属管相互を直角に接続するときに使用する。
ハ . 金属管の管端に取り付け、引き出す電線の被覆を保護するときに使用する。
ニ . 両方とも回すことのできない金属管相互を接続するときに使用する。
****
アウトレットボックスと接続したネジなしボックスコネクタの先端に取り付け、むき出しの金属部分が電線の被覆を損傷するのを防いでいるんだ。
絶縁ブッシングは技能試験の一部の候補問題で使用しているから、使い方や意味を必ず覚えておこう。
正解はイ
問12
低圧の地中配線を直接埋設式により施設する場合に使用できるものは。
イ . 屋外用ビニル絶縁電線(OW)
ロ . 600V架橋ポリエチレン絶縁ビニルシースケーブル(CV)
ハ . 引込用ビニル絶縁電線(DV)
ニ . 600Vビニル絶縁電線(IV)
そうすると、選択肢の中でケーブルはただ1つ。
正解はロ
問13
金属管(鋼製電線管)の切断及び曲げ作業に使用する工具の組合せとして、適切なものは。
イ . やすり、パイプレンチ、パイプベンダ
ロ . やすり、金切りのこ、パイプベンダ
ハ . リーマ、金切りのこ、トーチランプ
ニ . リーマ、パイプレンチ、トーチランプ
こんなの使ったらヤケドしちゃうから、ハとニは×
あとは、パイプレンチと金切りのこのうちのどちらかだ。
パイプレンチはパイプを回すための工具だから×
金切りのこは名前のまんま、金属を切るのこぎり。
やすりは切断後の切り口を整えるために使うよ。
パイプベンダはパイプを曲げる道具。「曲げる」の英語のbendから由来しているんだ。
正解はロ
問14
必要に応じ、スターデルタ始動を行う電動機は。
イ . 三相かご形誘導電動機
ロ . 三相巻線形誘導電動機
ハ . 直流分巻電動機
ニ . 単相誘導電動機
スターデルタ始動→三相かご形誘導電動機(さんそうかごがたゆうどうでんどうき)を連想できるかどうかがカギ。
第二種電気工事士試験はあくまでも基礎力を確かめる試験。
よくわからない選択肢が複数でてきた場合、見慣れた単語がある選択肢が正解だったりすることが多い。
正解はイ
問15
漏電遮断器に関する記述として、誤っているものは。
イ . 高速形漏電遮断器は、定格感度電流における動作時間が0.1秒以下である。
ロ . 漏電遮断器には、漏電電流を模擬したテスト装置がある。
ハ . 漏電遮断器は、零相変流器によって地絡電流を検出する。
ニ . 高感度形漏電遮断器は、定格感度電流が1000mA以下である。
ロ…漏電遮断器を見ればテスト装置があるのはわかるね。
ハ…そのとおり。
問題は高速形漏電遮断器。
どちらも正しそうそうなんだけど、高感度形漏電遮断器の定格感度電流は5~30mA。
この漏電遮断器に関する記述問題の選択肢は毎回同じだから、1000mA以下というのは大げさだということをイメージで押さえておこう。
正解はニ
問16
写真に示す材料の用途は。

イ . 合成樹脂製可とう電線管相互を接続するのに用いる。
ロ . 合成樹脂製可とう電線管と硬質ポリ塩化ビニル電線管(硬質塩化ビニル電線管)とを接続するのに用いる。
ハ . 硬質ポリ塩化ビニル電線管(硬質塩化ビニル電線管)相互を接続するのに用いる。
ニ . 鋼製電線管と合成樹脂製可とう電線管とを接続するのに用いる。
そして、回すようなコネクタが付いているのは合成樹脂製可とう電線管のPF管カップリングの特徴なんだ。
ちなみに、硬質ポリ塩化ビニル電線管(硬質塩化ビニル電線管)相互を接続するTSカップリングは、コネクタがない分、カップリング自体が細い。
正解はイ
問17
写真に示す器具の名称は。

イ . 手元開閉器として用いる。
ロ . 電圧を変成するために用いる。
ハ . 力率を改善するために用いる。
ニ . 蛍光灯の放電を安定させるために用いる。
また「LAMP」とはランプ=灯りのこと。これも大きなヒントだね。
この器具は蛍光灯の安定器。
見たことがある人もいるかもしれないけど、蛍光灯器具の内部に設置されているよ。
写真問題は記載にヒントがあるから、最後まであきらめないで考えてみよう。
正解はニ
問18
写真に示す工具の用途は。

イ . 電線の支線として用いる。
ロ . 太い電線を曲げてくせをつけるのに用いる。
ハ . 施工時の電線管の回転等すベり止めに用いる。
ニ . 架空線のたるみを調整するのに用いる。
この器具は張線器。
選択肢で書かれているように架空線のたるみを調整するのに使うんだけど、右下の黒いところでギコギコして線を張ったり緩めたりするんだ。
正解はニ
問19
600Vビニル絶縁ビニルシースケーブル平形1.6mmを使用した低圧屋内配線工事で、絶縁電線相互の終端接続部分の絶縁処理として、不適切なものは。
ただし、ビニルテープはJISに定める厚さ約0.2mmの絶縁テープとする。
イ . 差込形コネクタにより接続し、接続部分をビニルテープで巻かなかった。
ロ . リングスリーブ(E形)により接続し、接続部分を黒色粘着性ポリエチレン絶縁テープ(厚さ約0.5[mm])で半幅以上重ねて2回(4層)巻いた。
ハ . リングスリーブ(E形)により接続し、接続部分をビニルテープで半幅以上重ねて1回(2層)巻いた。
ニ . リングスリーブ(E形)により接続し、接続部分にリングスリーブ用の絶縁キャップを被せ、ビニールテープを巻かなかった。
まず、差込形コネクタに絶縁処理は関係ないから、イは除外。
それ以外の選択肢の中で、どの被覆が一番弱そうかを考えよう。
ニのリングスリーブ用絶縁キャップは、結線をそのまますっぽり包む材料。透明で、イメージ的には差込形コネクタに近い(ただし結線はする)。
だから、追加で被覆処理を施す必要はない。
残ったのはロとハ。
どちらも同じ巻き方をしているけど、使用している材料をよく見てみよう。
ハのビニルテープ(0.2mm)の厚みは、ロの絶縁テープ(0.5mm)の半分以下だということがわかるね
つまり、ハは絶縁性能が一番低い。
ちなみに、1.6mmの絶縁ケーブルの場合、絶縁被覆は0.8mmが必要だから、やっぱりハが基準に達していないことがわかる。
正解はハ
問20
同一敷地内の車庫へ使用電圧100Vの電気を供給するための低圧屋側配線部分の工事として、不適切なものは。
イ . 1種金属製線ぴによる金属線ぴ工事
ロ . 硬質ポリ塩化ビニル電線管(硬質塩化ビニル電線管)(VE)による合成樹脂管工事
ハ . 600V架橋ポリエチレン絶縁ビニルシースケーブル( CV )によるケーブル工事
ニ . 600Vビニル絶縁ビニルシースケーブル丸形( VVR )によるケーブル工事
だから、車庫とはいえ、雨や風にさらされる場所なんだ。
では、選択肢を見てみよう。
ケーブルは最強なので問題なし、ハとニは除外。
合成樹脂管工事も、この条件では問題なく行うことができる。
気になるのは、やはり1種金属線ぴ。
屋側で金属線ぴ工事を行うことはできないんだ。
まぁ、1種金属線ぴは事務所とか乾燥した屋内で使用されるから、イメージ的にもアウトドアが無理そうなのはわかるよね。
1種金属可とう電線管や金属線ぴ工事が出てきたときは誤った選択肢ではないかどうか疑ってみよう。
正解はイ
問21
単相3線式100/200Vの屋内配線工事で漏電遮断器を省略できないものは。
イ . 乾燥した場所の天井に取り付ける照明器具に電気を供給する電路
ロ . 小勢力回路の電路
ハ . 簡易接触防護措置を施してない(人が容易に触れるおそれがある)場所に施設するライティングダクトの電路
ニ . 乾燥した場所に施設した、金属製外箱を有する使用電圧200Vの電動機に電気を供給する電路
例えば、イは天井だし、乾燥しているなら大丈夫そう。
ロの小勢力回路もなんとなく平気そう。
ニも、乾燥した場所だし、金属製外箱があれば誤って触れる機会もなさそうだね。
でも、簡易接触防護措置の施していないライティングダクトは、間違って触っちゃうこともあるってことだから、これは省略できないね。
漏電遮断器は、乾燥した場所に施設する場合や二重絶縁構造の機器を設置した場合、60V以下の小勢力回路の場合は省略することができるんだ。
正解はハ
問22
D種接地工事の施工方法として、不適切なものは。
イ . 移動して使用する電気機械器具の金属製外箱の接地線として、多心キャプタイヤケーブルの断面積0.75mm2の1心を使用した。
ロ . 低圧電路に地絡を生じた場合に0.5秒以内に自動的に電路を遮断する装置を設置し、接地抵抗値が300Ωであった。
ハ . 単相100Vの電動機を水気のある場所に設置し、定格感度電流30mA、動作時間0.1秒の電流作動型漏電遮断器を取り付けたので、接地工事を省略した。
ニ . ルームエアコンの接地線として、直径1.6mmの軟銅線を使用した。
ほら、洗濯機でアースをつなぐでしょ。あれと同じ感覚。
正解はハ
問23
低圧屋内配線の合成樹脂管工事で、合成樹脂管( 合成樹脂製可とう電線管及びCD管を除く )を造営材の面に沿って取り付ける場合、管の支持点間の距離の最大値[ m ]は。
イ . 1
ロ . 1.5
ハ . 2
ニ . 2.5
できなかったら「合成樹脂管は1.5m」と暗記しよう。
ちなみにカッコ書きされた、合成樹脂製可とう電線管及びCD管の、管の支持点間の距離の最大値は1mになる。
正解はロ
問24
低圧電路で使用する測定器とその用途の組合せとして、正しいものは。
イ . 電力計 と 消費電力量の測定
ロ . 検電器 と 電路の充電の有無の確認
ハ . 検電器 と 電路の充電の有無の確認
ニ . 回路計( テスタ ) と 絶縁抵抗の測定
三相回路の相順を調べるのは検相器、ハは×
絶縁抵抗の測定は絶縁抵抗計、ニは×。ちなみに絶縁抵抗計は問25に出題されているよ。
正解はロ
問25
絶縁抵抗計(電池内蔵)に関する記述として、誤っているものは。
イ . 絶縁抵抗計には、ディジタル形と指針形(アナログ形)がある。
ロ . 絶縁抵抗測定の前には、絶縁抵抗計の電池容量が正常であることを確認する。
ハ . 絶縁抵抗計の定格測定電圧(出力電圧)は、交流電圧である。
ニ . 電子機器が接続された回路の絶縁測定を行う場合は、機器等を損傷させない適正な定格測定電圧を選定する。
接地抵抗計は交流電圧だから、ごっちゃにならないように注意が必要。
僕は「ぜっちょくせっこう」と覚えて暗記したよ。
正解はハ
問26
工場の200V三相誘導電動機(対地電圧200V)への配線の絶縁抵抗値[MΩ]及びこの電動機の鉄台の接地抵抗値[Ω]を測定した。電気設備技術基準等に適合する測定値の組合せとして、適切なものは。ただし、200V電路に施設された漏電遮断器の動作時間は0.1秒とする。
イ . 0.1MΩ / 50Ω
ロ . 1MΩ / 600Ω
ハ . 0.15MΩ / 200Ω
ニ . 0.4MΩ / 300Ω
「200V三相誘導電動機(対地電圧200V)」は300V以下かつ対地電圧150V以上に当てはまるから、抵抗値は0.2MΩ以上が必要になる。
この条件を満たしている選択肢はニとハ。
また、三相誘導電動機は使用電圧が200VだからD種接地工事をしなければいけない
「動作時間は0.1秒」の漏電遮断器が設置されている場合は0.5秒以内で動作する漏電遮断器を設置している場合に該当するため、接地抵抗値は500Ω以下でなければいけないんだ。
抵抗値は0.2MΩ以上、接地抵抗値500Ω以下を満たす選択肢が答えになる。
正解はニ
問27
アナログ計器とディジタル計器の特徴に関する記述として、誤っているものは。
イ . アナログ計器は永久磁石可動コイル形計器のように、電磁力等で指針を動かし、触れ角でスケールから値を読み取る。
ロ . ディジタル計器は測定入力端子に加えられた交流電圧などのアナログ波形を入力変換回路で直流電圧に変換し、次にA-D変換回路に送り、直流電圧この大きさに応じたディジタル量に変換し、測定値が表示される。
ハ . 電圧測定では、アナログ計器は入力抵抗が高いので被測定回路に影響を与えにくいが、ディジタル計器は入力抵抗が低いので被測定回路に影響を与えやすい。
ニ . アナログ計器は変化の度合いを読み取りやすく、測定量を直感的に判断できる利点を持つが、読み取り誤差を生じやすい。
誤っているのはハ
アナログ計器は入力抵抗が高いので被測定回路に影響を与えやすく、ディジタル計器は入力抵抗が低いので被測定回路に影響を与えにくい。
とはいえ、この知識はなかなかわからないだろうから、試験では感覚で考えて選択肢を絞ろう。
イ…なんとなくアナログな内容だから当たってそう。
ロ…交流を直流にディジタル変換するのもなんとなく当たってそう。
ハ…よくわからない。
ニ…なんとなくアナログな内容だから当たってそう。
こう考えても、なんとなくハがあやしいよね。
正解はハ
問28
「電気工事士法」において、第二種電気工事士免状の交付を受けている者であっても従事できない電気工事の作業は。
イ . 一般用電気工作物の配線器具に電線を接続する作業
ロ . 一般用電気工作物の接地線を取り付ける作業
ハ . 自家用電気工作物(最大電力500kW未満の需要設備)の地中電線用の管を設置する作業
ニ . 自家用電気工作物(最大電力500kW未満の需要設備)の低圧部分の電線相互を接続する作業
正解はニ
問29
「電気用品安全法」の適用を受ける電気用品に関する記述として、誤っているものは。

輸入とかなんとかは関係ないよ。
正解はハ
問30
「電気設備に関する技術基準を定める省令」において、次の空欄(A)及び(B)の組合せとして、正しいものは。

これは必ず覚えよう。
ちなみに僕は「直後(直流は750)」と覚えたよ。
正解はハ
配線図問題
図は、鉄骨軽量コンクリート造一部2階建工場及び倉庫の配線図である。この図に関する次の問いに対して、答えを1つ選びなさい。
【注意】
1. 屋内配線の工事は、特記のある場合を除き電灯回路は600Vビニル絶縁ビニルシースケーブル平形(VVF)、動力回路は600V架橋ポリエチレン絶縁ビニルシースケーブル(CV)を用いたケーブル工事である。
2. 屋内配線等の電線の本数、電線の太さ、その他、問いに直接関係のない部分等は省略又は簡略化してある。
3. 漏電遮断器は、定格感度電流30mA、動作時間が0.1秒以内のものを使用している。
4. 選択肢(答え)の写真にあるコンセントは、「JIS C 0303:2000 構内電気設備の配線用図記号」で示す「一般形」である。
5. ジョイントボックスを経由する電線は、すべて接続箇所を設けている。
6. 3路スイッチの記号「0」の端子には、電源側又は負荷側の電線を結線する。

問31
①で示す部分の最少電線本数(心線数)は。

イ . 3
ロ . 4
ハ . 5
ニ . 6
それと、1階の蛍光灯「ハ」は、電源「a」からの接地側の電線と非接地側の電線を使って通電させることになるから、ここでも2本必要。
ということで最小電線本数は4本。
正解はロ
問32
②で示す引込口開閉器が省略できる場合の、住宅と車庫との間の電路の長さの最大値〔m〕は。

イ . 5
ロ . 10
ハ . 15
ニ . 20
住宅と車庫との長さが問われたら、15mと反射的に思い浮かぶようにしよう。
正解はハ
問33
③で示す図記号の名称は。

イ . 圧力スイッチ
ロ . 押しボタン
ハ . 電磁開閉器用押しボタン
ニ . 握り押しボタン
この記号は電磁開閉器用押しボタン。
頻出だから絶対覚えよう。
ちなみに、イの圧力スイッチはBではなくP、ニの握り押しボタンは図のBがない記号になる。
正解はハ
問34
④で示す部分に使用できるものは。

イ . 引込用ビニル絶縁電線
ロ . 架橋ポリエチレン絶縁ビニルシースケーブル
ハ . ゴム絶縁丸打コード
ニ . 屋外用ビニル絶縁電線
でも、「ケーブル最強説」から考えて、ここは架橋ポリエチレン絶縁ビニルシースケーブル一択で決まり。
正解はロ
問35
⑤で示す屋外等の種類は。

イ . 水銀灯
ロ . メタルハライド灯
ハ . ナトリウム灯
ニ . 蛍光灯
「N」はナトリウムの頭文字。
水銀灯は「H」、メタルハライド灯は「M」だからあわせて覚えておこう。
正解はハ
問36
⑥で示す部分に施設してはならない過電流遮断装置は。

イ . 2極にヒューズを取り付けたカバー付ナイフスイッチ
ロ . 2極2素子の配線用遮断器
ハ . 2極にヒューズを取り付けたカットアウトスイッチ
ニ . 2極1素子の配線用遮断器
そして、200V回路の配線用遮断器には2極2素子が必要になるんだ。
ということで、2極1素子の配線用遮断器が誤り。
まぁ、2極2素子の配線用遮断器と2極1素子の配線用遮断器が並んでいたら、明らかに後者の方が機能が制限されているのがわかるよね。
正解はニ
問37
⑦で示す図記号の計器の使用目的は。

イ . 電力を測定する。
ロ . 力率を測定する。
ハ . 負荷率を測定する。
ニ . 電力量を測定する。
使用した電力量が測定されているんだ。
みんなの家にもある、〇〇電力の人がチェックしているあれのことだよ。
正解はニ
問38
⑧で示す部分の設置工事の電線(軟銅線)の最小太さと、接地抵抗の最大値との組合せで、正しいものは。

イ . 1.6mm 100Ω
ロ . 1.6mm 500Ω
ハ . 2.0mm 100Ω
ニ . 2.0mm 600Ω
この配線図は「単相3線式100/200V」で、「漏電遮断器」は、定格感度電流が30mA、動作時間が0.1秒以内のものを使用している」から、D種接地工事を行う必要があるんだ。
D種接地工事に必要な接地線の太さは1.6mm以上。
また、「0.5秒以内に動作する漏電遮断器」が設置されているので、接地抵抗値は500Ω以下でなければいけないんだ。
ということで、最小の太さは1.6mm、接地抵抗の最大値は500Ωになる。
正解はロ
問39
極=穴のことだから、選択肢は4つ穴のイかロに絞られる。
ロは引掛形コンセントで、「T」の文字が記号に書かれている(ツイストの意味)
ここには「T」はない。
正解はイ
問40
実は一般問題の問9の問題文に図記号が書かれていたんだけど、気づいたかな。
その他の選択肢は、
ロ…漏電遮断器
ハ…電流計付箱開閉器
ニ…カバーナイフスイッチ
また、モータブレーカの図記号は、正方形に「B」を書いて右下に「M」を書くものもあるよ。
正解はイ
問41
3つの極を10m離して使用する。
その他の選択肢は、
イ…絶縁抵抗計。「MΩ」で判断しよう。
ロ…検相器。三相回路の相順を調べるけど、この回路は単相3線式だから不要。
ハ…回路計。回路電圧の確認や導通試験で使う。
正解はニ
問42
⑫で示すジョイントボックス内の接続をすべて圧着接続とする場合、使用するリングスリーブの種類と最少個数の組合せで、正しいものは。


つまり3心線×3結線だから、リングスリーブの数は3個。
そして、すべての心線は5.5㎟で、直径2.6mmとほぼ同じ大きさになる。
リングスリーブ中は2.6mmを2本までしか圧着することができない。
なので、ここはリングスリーブ大が3個必要になる。
正解はハ
問43
⑬で示すVVF用ジョイントボックス内の接続をすべて差込形コネクタとする場合、使用する差込形コネクタの種類と最少個数の組合せで、正しいものは。
ただし、使用する電線は、すべてVVF1.6とする。


まずは、「a」から出ている接地側の電線(白線)の接続を考えよう。
上の階段方向、「イ」の蛍光灯、「ロ」の蛍光灯と接続するので、4本の差込形コネクタを使用する。
一方、接地側(黒線)は上の「イ」「ロ」「ハ」などのスイッチと接続するので、2本の差込形コネクタを使用する。
あとは、「イ」のスイッチと「イ」の蛍光灯、「ロ」のスイッチと「ロ」の蛍光灯をそれぞれ2本の差込形コネクタで接続する。
そうすると、4本の差込形コネクタを1個、2本の差込形コネクタを3個使用することになるんだ。
正解はイ
問44
つまり、VVF工事に適した材料が使われているんだ。
この中で仲間外れは、ニ
ニは金属管用露出形スイッチボックス。
その名のとおり、露出配線工事で使用されるうえ、ケーブル工事ではなく金属管などの工事が必要になる。
正解はニ
問45
接地端子が付いているのはハとニ。
ニは接地極(「E」)まで付いているから、図記号ではEETになるから⑮ではないね。
正解はハ
問46
⑯で示す部分の配線工事に必要なケーブルは。
ただし、心線数は最少とする。


つまり平形だから、平らなケーブルのロとハに選択肢は絞られる。
また、このケーブルには蛍光灯「ハ」の接地側電線(白線)と3路スイッチ同士を結ぶ2本の心線が必要になるよね。
正解はハ
問47
正解はロ
問48
ロ…ネオン変圧器。記号は、変圧器なのでトランスのTが○の中に入って、右下に小さい文字でネオンのNが入る。
ハ…3極3素子の配線用遮断器。記号は□の中にB。
ニ…電磁開閉器。記号は□の中にS。
正解はイ
問49
⑲で示す部分を金属管工事で行う場合、管の支持に用いる材料は。


上のCの形の部分を鉄骨などに固定させ、下のOの部分に金属管を通すんだ。
イ…ねじなしボックスコネクタ。アウトレットボックスにねじなし電線管を接続するときに使うよ。
ハ…ユニバーサル。金属管を使う露出工事で金属管が直角に曲がるところに使うよ。
ニ…ねじなしカップリング。ねじなし電線管同士を接続。
正解はロ
問50
⑳で示すジョイントボックス内の電線相互の接続作業に使用されることのないものは。


だけど、この配線図の断面積14㎟=直径4㎜の心線3つの結線は太いため、リングスリーブ用圧着工具では圧着できない。
リングスリーブ用圧着工具で対応できないものは、ニの油圧式圧着工具を使って結束するよ。
その他、ロのケーブルカッターはIVケーブルの切断に、ハの電工ナイフはケーブルの被覆処理などに使う。
正解はイ













